 | Přijímače, vysílače, vf zesilovače
|  | Zesilovače, obvody pro úpravu zvuku
|  | Zapojení s elektronkami
|  | Měření, přístroje a přípravky
|  | Napájecí zdroje, nabíječky
|  | Mikroprocesory a digitální obvody
|  | Pro dům, dílnu a garáž, modely...
|
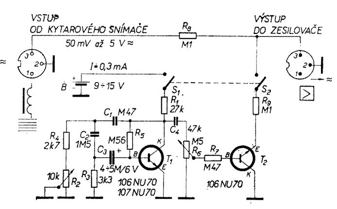
|  | Schéma - Vibráto k elektrické kytařeVibráto k elektrické kytaře Jednoduchý kytarový efekt - tremolo se dvěma tranzistory
| | | Vložil : RadioMan dne 02.12.2019, shlédnuto : 2099x |
 | | Zdroj : Radiový konstruktér 2/65
 Použité součástky : 106NU70
|
Dnes už pozapomenutý kytarový efekt - tremolo, nebo též vibráto. Velmi podrobný popis funkce a zapojení najdete v RK 65/2, kde bylo toto schéma uveřejněno. Výběr tranzistorů není kritický, protože vlastní zvuk se v podstatě tímto obvodem nijak nemění, není ani důvod ponechávat dnes už skoro nesehnatelné germaniové tranzistory, ale je možné je nahradit prakticky jakýmkoliv křemíkem. Potenciometr R2 řídí frekvenci tremola, R6 pak jeho intenzitu. |
Diskuse ke schématu :
| |
|---|
Kolík 13.10.2021 15:34 | Ale, ale, vážení! Kdopak to nezná elektrotechnické pojmy? Tremolo přece není vibráto! Tremolo je pravidelně se měnící amplituda, na rozdíl od vibráta, což je změna frekvence! | |
|
Zde můžete napsat jakýkoliv dotaz či připomínku - obratem bude zveřejněna. Můžete také jednoduše poslat odkaz na toto schéma svým přátelům !
(Celkem 1 komentářů)
| |
|